This series switches use sealing materrials which strong insulation and good waterproof effect, protection class is IP67(out-cable way),widely used in automobiles, agricultural machinery, and on special environment use the mechanical equipment, can bear a bad field environment, and has good accuracy and long useful life.
Characteristic and parameter

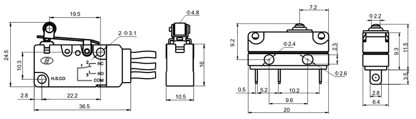
Products pictures
